Wie einer der Twitter-Detektive gefunden hat, hat AMD ein Patent angemeldet für Befehlssätze einer neuen CPU-Architektur auf Basis des BIG.little Prinzips, bei dem unterschiedliche Kerne für verschiedene Aufgaben arbeiten. Das kennt man schon lange von Smartphone-Chips auf Basis von ARM und seit Kurzem auch vom Intel ‚Lakefield‘ Mobilchip mit Hybrid-Technologie.
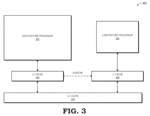
Das Patent hat AMD Ende Juni angemeldet und es befindet sich noch in Bearbeitung, d.h. es könnte sich bis zur endgültigen Registrierungt auch noch ändern. Bislang sieht das Patent vor, dass zwei Prozessorkerne oder Kern-Cluster unterschiedliche Befehlssätze unterstützen, wobei einer für hohe Performance und der andere mit einfacherer Struktur für weniger Leistung und höhere Energieeffizienz ausgelegt ist. Das Patent beschreibt eine Methode, bei der sich die Kerne einen Speicher teilen, um damit schneller Threads zwischen diesen unterschiedlichen Kernen zu transferieren.
In der Praxis könnte ein für anspruchsvolle Aufgaben vorgesehener High-End Kern Threads auf den kleineren Kern übertragen und sich abschalten, falls der große Kern nicht damit ausgelastet ist und der kleine Kern die dafür notwendigen Befehle unterstützt. Dies sollte die Energieeffizienz insgesamt erhöhen.
Bislang benötigt z.B. die Hybrid-Technologie des Intel ‚Lakefield‘ Ultra-Mobilprozessors mit seinen fünf Kernen (ein High-End und vier energie-effiziente Kerne) die Unterstützung des Betriebssystems, um die verschiedenen Arten von Threads korrekt den Kernen zuzuordnen. Die Entwickler der Betriebssysteme arbeiten derzeit daran.
Das Patent von AMD könnte den Entscheidungsprozess des Betriebssystems zum Teil auf den Prozessor verlagern. Wenn z.B. die kleinen Kerne überlastet sind, können sie den Task zu den großen Kernen transferieren oder umgekehrt, wie oben beschrieben. Das geht allerdings natürlich nur, wenn es sich um Aufgaben handelt, die von beiden unterschiedlichen Kernarten unterstützt werden.
Die Anmeldung eines solchen Patents bedeutet aber nicht automatisch, dass AMD in Kürze bereits mit eigenen BIG.little CPUs herauskommen wird. Es zeigt allerdings, dass sich AMD mit dieser Thematik beschäftigt und daran arbeitet.
Quelle: Underfox3 @ Twitter



Neueste Kommentare
24. Mai 2026
20. Mai 2026
19. Mai 2026
19. Mai 2026
18. Mai 2026
17. Mai 2026