Die Chipsätze
AMD-760
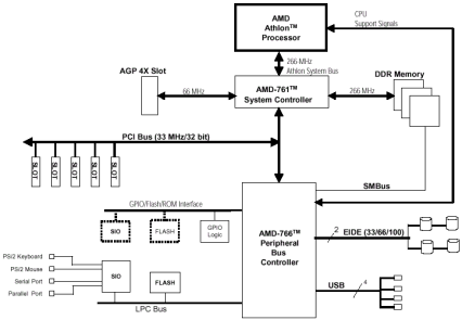
Der AMD-760 unterstützt bis zu 2 GB DDR-RAM, was aber leider, da oft nur 2 DIMM-Slots vorhanden sind und die größten lieferbaren DDR-RAM Module sich auf 512 MB beschränken, momentan oft noch nicht ganz ausgenutzt wird. Für SDR-RAM bietet er keine Unterstützung.

AMD-760 Blockdiagramm ()
Die Northbridge kommt sowohl mit den aktuellen Athlon-C, der einen Front Side Bus (FSB) von 133 MHz bietet, als auch mit dem etwas langsameren B-Modell des Athlons, welches nur mit 100MHz FSB läuft, zurecht. Natürlich beherrscht der AMD-760 auch den Umgang mit dem „low-cost“ Duron Prozessor.
Aufgrund der Tatsache, dass die Northbridge den Speicher nur synchron zum FSB-Takt ansprechen kann, wird die volle Performance des Chipsatzes aber nur in Verbindung mit dem C-Modell des Athlons erreicht. Etwas „riskanter“ auch durch des Betreiben des Durons oder Athlon-B mit 133MHz FSB, was ja bei recht vielen Modellen stabil und ohne große Gefahr möglich ist.
Ferner bietet er AGP-2x/4x und kann mit PC1600 bzw. PC2100 Speicher bestückt werden.
Obwohl es auch von AMD eine passende Southbridge gibt, setzen den AMD-760 so gut wie alle Hersteller in Verbindung mit der VIA 686B Southbridge ein, die ja auf Grund des bekanntgewordenen Bugs doch etwas in Verruf geraten ist. Sie bietet 2 UDMA/100 Kanäle, 4 USB-Ports, 2-Kanal-AC97-Sound und die ACPI Stromsparfunktionen werden natürlich auch unterstützt.
ALiMAGiK-1
Der zweite Chipsatzt dieses Vergleichs, der ALiMAGiK-1, kommt – wie schon im Namen zu erkennen – von ALi.
Er kommt sowohl mit DDR als auch mit SDR SDRAM zurecht, unterstützt auch alle von AMD für den Sockel-A verfügbaren oben genannten Prozessoren.
Er bietet Unterstützung für bis zu 3 GB RAM in zumeist 3 DIMM-Slots, was wie schon erwähnt auf Grund der heutigen Speichermodul-Größen zur Zeit nur 1,5 GB Hauptspeicher ermöglicht. Er ist aber bei der Wahl des Speichers flexibler und lässt auch in Verbindung mit 100MHz FSB Prozessoren die sinnvolle Nutzung von PC2100 Speicher mit 133MHz zu. Die gleichzeitige Nutzung von DDR- und SDR-SDRAM ist aber nicht möglich.
AGP 2x/4x wird natürlich auch geboten.
Als Southbridge kommt ALis eigene M1535D+ zum Zug, über die zumindest bis jetzt noch nichts Negatives bekannt wurde. Sie unterstützt bis zu 6 USB Ports, UDMA/100, AC97 Audio und auch hier ist die Unterstützung für ACPI vorhanden.

ALiMAGiK-1 (ALi M1647) Blockdiagramm
Während Asus beim A7M266 auf den AMD-760 in Verbindung mit der etwas – wie schon erwähnt – in Verruf geratenen VIA 686B Southbridge setzt, verbaut Soyo den ALiMAGiK-1, der sich bisher nicht als High-End Chipsatz profiliert hat. Sound ist bei beiden Onboard dabei, da aber wohl die Meisten eine Soundkarte einsetzen, werde ich nicht weiter auf dessen Qualitäten und Leistungsbeeinflussung eingehen.
Wollen wir nun im folgenden Review herausfinden, ob sich dieses Vorurteil über die Performance des ALi-Chipsatzes bewahrheitet.

Neueste Kommentare
22. Dezember 2025
22. Dezember 2025
20. Dezember 2025
20. Dezember 2025
18. Dezember 2025
11. Dezember 2025