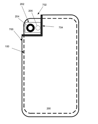
Apple hat sich beim United States Patent & Trademark Office (USPTO) unter der Nummer 8.364.032 ein Patent auf ein iPhone aus Plastik und ohne Home-Button gesichert. Auch eine Webcam glänzt durch Abwesenheit. Die Frontkamera bleibt aber erhalten. Das Patent könnte naheliegenderweise natürlich das oft in Gerüchten beschriebene Einstiegs-iPhone bezeichnen. Angeblich will Apple nämlich 2013 neben seiner neuen iPhone-Generation zusätzlich ein günstiges Modell für das Low-Cost-Segment einführen. Das Patent wurde von Apple am 21. Februar 2012 beantragt und am 29. Januar 2013 bewilligt.
Quelle: TomsHardware



Neueste Kommentare
3. Mai 2026
29. April 2026
28. April 2026
23. April 2026
17. April 2026
13. April 2026